Uniden
Grant LT
Documentation Project
CBTricks.com
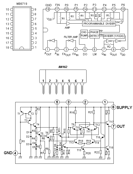
Integrated Circuits Internal Diagrams

Disclaimer: Although the greatest care has been taken while compiling these documents,
we cannot guarantee that the instructions will work on every radio presented.